Buy with confidence today & exchange until 31st January 2026 with our Extended Christmas Exchange Guarantee.
Learn More
- Free Next Day Delivery Available
- Buy today and exchange until 2026
- 3 Year Warranty
- Proudly Employee Owned
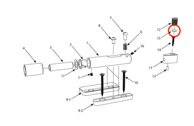
Strandberg Washer 5mm (10pcs)
 
                
             
                
            £3.99
Stock Arriving Soon
Stock expected 7th November 2025Includes Extended Exchange & 3-Year Warranty
Manufacturer's ID: SP-WA-5
                
                    These 5mm stainless steel washers protect strings from being cut off at the string lock end while tightening the string lock. They can sometimes get worn or deformed to the point where they need to be replaced. Note that they really only fill a function at the high e and b strings, and you can safely swap washers around between strings as a quick fix if one gets worn.
                
        
    
 
					 
                             
                            